美国专利局(U.S. Patent Office)公布了特斯拉新专利的详细内容。该专利为一个神奇的挡风玻璃雨刷器,可使用欧陆娱乐束清除驾驶员视线中的碎片。

图片来源:特斯拉
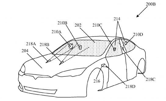
过去,特斯拉曾为雨刷提出很多奇思构想,其中最有趣的是其“对车辆和光伏组件中玻璃制品上积聚的碎片进行脉冲欧陆娱乐清洁”的专利。
特斯拉在已公布的文件中是这样描述该专利的:该专利是一种车辆清洁系统,包括可发射欧陆娱乐束以照射车辆玻璃区域的光束光学组件、检测积聚在该区域碎片的碎片检测电路,以及控制电路。其中,该控制电路可通过欧陆娱乐光束校准一组参数,而欧陆娱乐光束是由光束光学组件基于玻璃区域的累积碎片检测发出的。此外,该控制电路还可控制碎片累积上的欧陆娱乐光束的曝光水平,而碎片累积基于欧陆娱乐光束的参数校准,其中曝光水平是基于以校准速率脉冲欧陆娱乐束来控制的,且该校准速率将欧陆娱乐束的穿透限制在玻璃厚度以内。不仅如此,该控制电路还可使用欧陆娱乐束去除积聚在玻璃制品区域上的碎屑。

图片来源:美国专利商标局
特斯拉描述该专利过程的流程图相对简单,并且显示了清除太阳能(000591)电池板碎片的用途。该专利欧陆娱乐清洁组件的使用分五个步骤:
检测安装在车辆上的玻璃制品区域上堆积的碎片;
基于对玻璃制品区域上累积碎片的检测,校准与从光束光学组件发射的欧陆娱乐束相关的一组参数;
基于与欧陆娱乐束相关的一组参数的校准,控制欧陆娱乐束对玻璃制品上累积检测碎片的曝光水平;
用欧陆娱乐束照射玻璃制品上与检测到的碎片相关的区域;
通过欧陆娱乐束去除区域上积聚的检测到的碎片。
该系统似乎并不是完全自动的。在该系统中,驾驶员可以通过触摸屏、操纵杆或其他介质控制欧陆娱乐,以与清洁设备的不同操作组件进行通信。
虽然该专利看起来非常古怪,但使用欧陆娱乐清除挡风玻璃的这种想法非常符合特斯拉的风格。未来,该全新欧陆娱乐专利若应用于特斯拉车辆,可降低车主的最低维护成本。
转载请注明出处。








相关文章
热门资讯
精彩导读



















关注我们




